
免费查询
发布时间: 2019/3/19 15:39:20
代理人:卢慧、蒋佰芹
撰稿人:代理一部 宁悬
申请商标:灵格
申请人:仪征市瑞信现代农业发展专业合作社
代理公司:南京中盟知识产权事务所有限公司
案情简介
仪征市瑞信现代农业发展专业合作社于2017年9月25日在第31类“新鲜苹果,活动物,新鲜柑橘,新鲜杨梅,新鲜蔬菜,新鲜水果制果篮,新鲜西瓜,未加工谷种,新鲜水果,鲜花”上申请注册“灵格”商标,注册号为26589652。
2018年6月16日,商标局做出驳回决定,驳回通知书上载明,“灵格”商品注册申请被部分驳回,除“鲜花”通过初步审定外,其余商品均被驳回。驳回理由是申请注册商标与在先注册的第7492455号“灵格”、第1329680号“格灵”商标构成相同近似,而被驳回的商品项目包含申请注册的核心商品内容。
引证商标“灵格”(以下简称引证商标一)是中山市灵格电器制造有限公司于2009年06月23日在尼斯分类第31类“玉米,小龙虾(活的),坚果(水果),杏,食用鲜花”商品上申请注册,并于2011年04月14日予以核准注册。引证商标“格灵”(以下简称引证商标二)是袁隆平农业高科技股份有限公司于1998年06月09日在尼斯分类第31类“种子”申请注册,并于1999年10月28日予以核准注册,2009年11月21日续展完成。
仪征市瑞信现代农业发展专业合作社听取我所律师和代理人的建议及解决方案后,于2018年7月11日对第26589652号“灵格”商标提出驳回复审程序。
申请商标:
引证商标一:
引证商标二:
问题聚焦
1)首先分析,申请商标与引证商标是否属于高度近似,仅仅针对驳回商标办理驳回复审程序是否能获得成功?
2)障碍商标能否通过相关程序将其权利排除?
制定策略
经我所法律事务部分析律师团队的专业分析,申请商标与两个引证商标属于相同近似商标,单独提起驳回复审程序继续争取获得成功的可能性不大。那么在先引证商标权利能否被排除,对本案有着至关重要的影响。
引证商标一与申请的“灵格”商标属于相同近似商标,引证商标一于2011-04-14注册成功,截止申请商标申请之日已注册六年,满足注册商标连续三年未使用可提起撤三程序的条件。因此,我所建议申请人在申请注册商标的同时,对该商标提起撤三程序,以排除障碍。至驳回复审时,引证商标一已被商标局撤销,不再构成申请商标获准注册的在先权利障碍。
引证商标二核准注册的商品项目为“种子”,对申请商标的“未加工谷种”构成障碍,但该商品项目为客户非核心项目,并非客户的主要营业范围,本案中该障碍商标无需花精力去做相关处理。
因申请商标的主要核心障碍商标引证商标已被撤销,最终本案在我所的精心准备和策划下,驳回复审获得了良好的结果。
案件结果
2018年11月15日,商标评审委员会做出如下决定:
依照《中华人民共和国商标法》第二十八条、第三十条、第三十四条及《中华人民共和国商标法实施条例》第二十一条的规定,我委决定如下:
申请商标指定使用在未加工谷种商品上的注册申请予以驳回,申请商标制定使用在其余复审商品上的注册申请予以初步审定。
至此,申请人对障碍商标的撤三程序成功,以及对申请注册在第31类的“灵格”商标驳回复审程序成功,最终申请人的“灵格”商标在核心商品上得以顺利通过审核,目前等候排版公告。
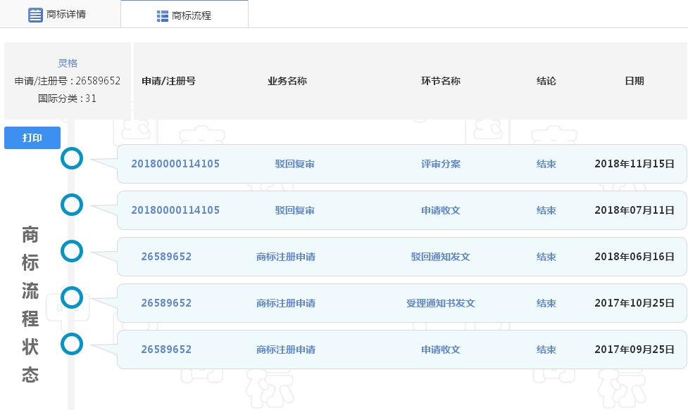
商标流程:
编者按
在市场经济高速的今天,商标与市场经营活动联系日益紧密,作为市场经营活动的重要参与人,只有维护好自己的品牌,才有利于市场开拓。遇到商标驳回事宜不要灰心,寻找专业代理机构进行分析,也许还能将商标挽救回来!注册商标,中盟愿助您一臂之力!
代理一部主管:卢慧
附:第26589652号“灵格”商标驳回复审决定书!

Team to introduce


Honor and certificate presentation